APlusLift 10,000LB 2-Post Overhead Symmetrical and Truly Asymmetrical Single Release Car Lift with 3 Year Warranty
Model: HW-10ASY
Key Specifications
10000 lbs
Capacity
50 Sec
Rise Time
Power
81”
Max Rise
$2879.00
– Ships in 2-3 Business Days
Fitment Check
8”
Narrow Bay Compatible
”
Standard Garage Depth
”
Depth @ 3000 PSI
4”
For SUV parking below
Product Description:
The Lab Verdict
Executive Summary
/100
The Verdict:
The APlusLift HW-10ASY is a 10,000-lb capacity 2-post lift designed for professional-grade vehicle service. 2-post lifts provide full undercarriage access for suspension, brake, and exhaust work. This is the standard lift type found in professional auto shops worldwide.
- Professional mechanics and shop owners
- Serious DIYers who do suspension, brake, and exhaust work
- Anyone who needs full undercarriage access
- Users willing to drill anchor holes into concrete
- Commercial shops servicing trucks and fleet vehicles
- Anyone who cannot drill into their concrete floor
- Users with concrete less than 4″ thick or with major cracks
- People who want a simple, no-install solution
Engineering Analysis
The “Deep Dive”
Hydraulics & Rise Time
Powered by dual high-pressure hydraulic cylinders and industrial-grade equalization cables to ensure perfectly level lifting. The direct-drive cylinder technology minimizes moving parts for lower maintenance, while the high-efficiency power unit achieves maximum lifting height in roughly 45 seconds, making it ideal for fast-paced service environments.
Safety Lock System
Safety is automatic. The carriage-locking system engages at multiple height intervals, allowing you to work safely at the most comfortable elevation. Designed with automatic arm restraints that lock the vehicle’s position once lifted, and a secure manual release system (single or dual-point depending on the specific model configuration) that keeps the operator in control during descent.
Structural Integrity
Built to handle heavy-duty cycles, the frame is constructed from high-tensile, heavy-gauge steel. The entire structure is finished with a durable, weather-resistant powder coating that resists rust, chemicals, and chipping far better than standard paint. All cables, sheaves, and chains are rated to exceed the lift’s maximum capacity, ensuring a safety factor well above industry requirements.
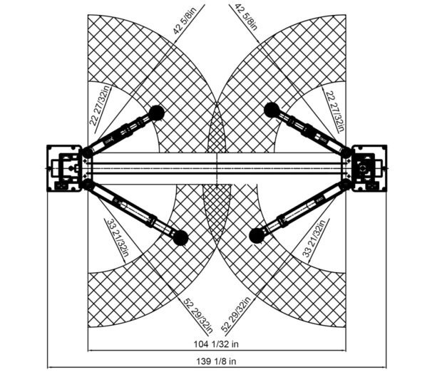
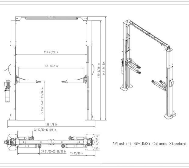
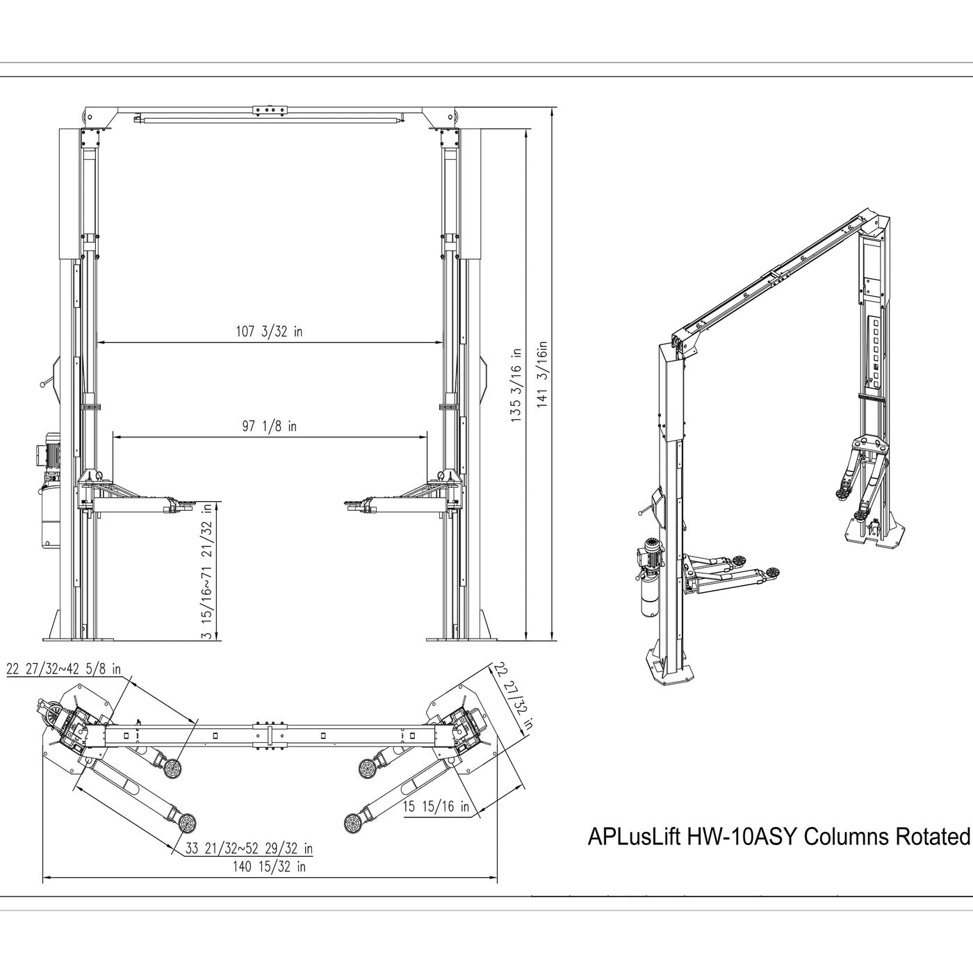
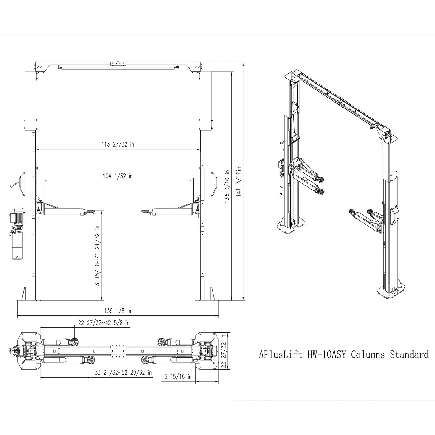
Complete Technical Specifications
|
Specification 688_77f31c-a0> |
Value 688_8ee998-12> |
Note 688_e453d7-7b> |
|---|---|---|
|
Lifting Capacity 688_a7ce9e-40> |
10000 Ibs 688_2bf1b0-0d> |
Good for: Light Duty Trucks, SUVs, Sedans 688_13c73b-3f> |
|
Overall Length 688_4214b0-bc> |
8” 688_604d27-b7> |
Measure from garage door to back wall 688_81693c-3a> |
|
Overall Width 688_529822-60> |
8” 688_e4b3c9-9f> |
Fits in standard single car bay 688_191644-fa> |
|
Drive-Through Width 688_b82486-3f> |
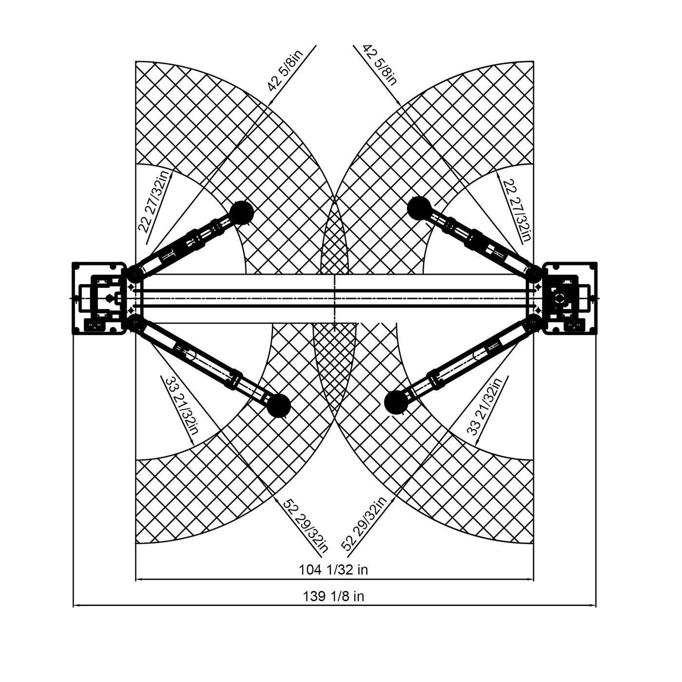
104” 688_468438-93> |
Restrictive – tight for wide vehicles 688_fae24f-9d> |
|
Max Rise Height 688_23deae-ac> |
81” 688_623882-82> |
For car stacking calculations 688_b52e56-13> |
|
Motor 688_34e07b-58> |
” 688_3e1943-4c> |
Requires 30 Amp Breaker – NOT 110V compatible 688_d103f6-0f> |
|
Rise Time 688_0da654-47> |
50 Sec 688_f08265-d9> |
Slower than 2-post lifts (30-40 sec) 688_2d0a89-30> |
|
Concrete Req. 688_aa4e14-0e> |
” Min Depth 688_1909b7-06> |
Standard Residential Slab is usually 4″ 688_c8c10f-2e> |
|
Concrete PSI 688_91888d-37> |
PSI 688_658810-64> |
Must be fully cured (28 days minimum) 688_9fbc11-79> |
Customer Builds
Real installations from real garages









































